한국어
中文(简体)
中文(繁体)
한국어
日本語
English
Português
Español
Русский
العربية
Indonesia
Deutsch
Français
ภาษาไทย
전체 사이트 맵
최신 업데이트
홈페이지
소스 다운로드
프로그래밍 관련
웹사이트 자원
웹 디자인 튜토리얼
네트워크 프로그래밍 튜토리얼
홈페이지
>
JSP 소스 코드
>
기타 카테고리
RSA_Signature
기타 카테고리
1.0.0
다운로드
RSA_Signature
프로젝트 환경
실행 환경
아이디어 : 2022.2.2
Tomcat : 8
프로젝트 기술
기본 JSP+서블릿 기술
SHA-512+RSA 암호화 기술
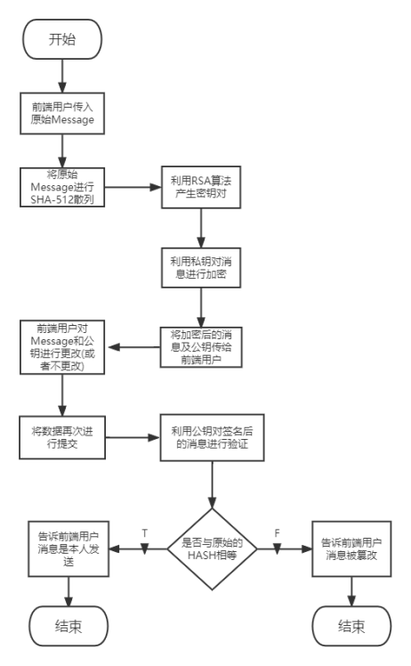
프로젝트 기능 흐름도
프로젝트 페이지 디스플레이
서명을 얻으십시오
서명 검증 1
서명 검증 2
확장하다
추가 정보
버전
1.0.0
유형
기타 카테고리
업데이트 시간
2025-04-02
크기
2.1MB
출처
Github
관련 애플리케이션
OpenCore_NO_ACPI_Build
2024-11-13
nspanel_pro_tools_apk
2024-11-12
zkwork_aleo_gpu_worker
2024-11-11
nextcloud_share_url_downloader
2024-11-01
서명 서명 암호화 공개키 개인키 암호화 및 복호화
2022-12-23
클래식 알고리즘 RSA
2009-05-30
추천
chat.petals.dev
기타 소스코드
1.0.0
GPT Prompt Templates
기타 소스코드
1.0.0
GPTyped
기타 소스코드
GPTyped 1.0.5
IDArling
기타 카테고리
1.0.0
hextor
기타 카테고리
v0.14
intellij tai e
기타 카테고리
v0.1.10
Google Dorks
기타 소스코드
1.0
shepherd
기타 소스코드
v6.1.6-react-shepherd: Prepare Release (#3063)
mongo express
기타 소스코드
v1.1.0-rc-3
관련 정보
전체
PHP require_once와 include의 차이점은 무엇입니까
2024-11-21
java_String과 StringBuffer의 차이점 분석
2024-11-19
자바 내부 클래스에 관한 것들_한 눈에 알아보자
2024-11-18
Java 개발_이미지 차단 도구 구현 원리
2024-11-17
자바 객체지향 기초_최종 상세 소개
2024-11-17
검과 샌들 불멸의 코드([dynamic_date format=”F Y”])
2024-11-14
C 언어_clear87() 함수: 상태어 가져오기 및 지우기
2024-11-13
C 언어_control87() 함수: 부동 소수점 제어 단어 가져오기 및 설정
2024-11-13
C 언어_status87() 함수: 부동 소수점 프로세서 상태 값 얻기
2024-11-13
Shi Xiaokeng의 Flower Before the Moon의 교환 코드는 무엇입니까?_Shi Xiaokeng의 Flower Before the Moon의 교환 코드 전체 모음입니다.
2023-09-22
지난달 6월 리의 분석에서 파쿨라의 '바이탈리티 썸머' 엔터테인먼트 게임 승률은_?
2023-07-06
슈트 없이 Nioh 1 방패를 어디서 구할 수 있나요? Nioh 마스터의 답변
2023-06-20