Simulated Annealing Algorithm for JSP
v1.0
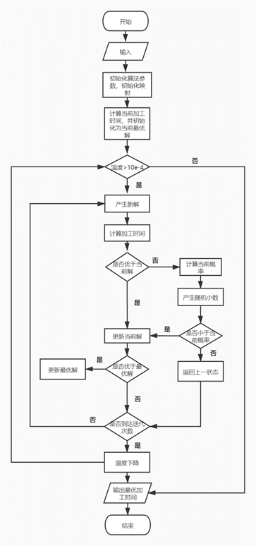
초록 : Job Shop Scheduling Problem (JSP)은 컴퓨터 과학 및 운영 연구에서 인기있는 최적화 문제입니다. 특정 시간에 유한 자원에 작업을 할당하는 데 중점을 둡니다. 시뮬레이션 된 어닐링 알고리즘 (SSA)은 몬테 카를로 반복 솔루션 전략을 기반으로하는 일반적인 확률 적 글로벌 검색 최적화 알고리즘입니다. 시작점은 물리적 고체 재료 어닐링 처리와 일반적인 조합 최적화 문제 사이의 유사성을 기반으로합니다. 확률 및 감소 온도와 결합 된 특정 초기 온도 하에서, 목적 함수의 글로벌 최적 솔루션은 솔루션 공간에서 찾을 수 있습니다. 이 백서에서는이 알고리즘을 JSP에서 10 인스턴스로 사용하고 스케줄링 주문을 받았습니다.
흐름도 :
